Apple Eliminates Creases: The Foldable iPhone is Finally Coming
With foldable phones from brands like Samsung and Google already on the market for years, the tech world has been eagerly awaiting Apple’s entry into the fray. According to a comprehensive report, although Apple has yet to make any official statement, multiple analyst predictions and patent information suggest that the launch of a foldable iPhone may be just around the corner.
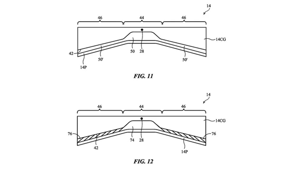
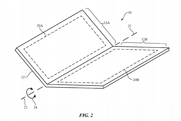
The report points out that a key piece of evidence is a patent Apple obtained on July 16, 2024. This patent, titled “Electronic Devices and Durable Foldable Displays,” was originally filed in November 2021.
The patent document describes a hinge design that protects the screen: when the device is dropped, the display “slightly folds around a bending axis,” allowing the device’s edges to hit the ground first, thus protecting the fragile inner screen. This confirms Apple’s long-term research and development in foldable screen technology.

Regarding the product form, current rumors mainly point to two designs:
Book-style folding: According to renowned analyst Ming-Chi Kuo, this type of device may feature a 7.8-inch crease-free inner screen and a 5.5-inch outer screen. When folded, it will be approximately 9-9.5 mm thick, and when unfolded, 4.5-4.8 mm. The device may include a front-facing camera and dual rear cameras.

Flip-style design: Other sources suggest that Apple may prioritize developing a flip-style device similar to the Samsung Galaxy Z Flip, aiming to create a model half the thickness of current iPhones. Ming-Chi Kuo predicts that in pursuit of thinness and lightness, the foldable iPhone may abandon Face ID, instead adopting Touch ID integrated into a side button for biometric authentication.
Regarding pricing, Ming-Chi Kuo estimates that the foldable iPhone will be priced between $2,000 and $2,500, on par with other high-end foldable devices on the market. He predicts shipments could reach 3 to 5 million units.
Regarding the release date, predictions vary: Ming-Chi Kuo predicted that Apple might release a crease-free foldable device as early as the end of 2026. However, market analysis firm TrendForce’s estimate is more conservative, suggesting that due to Apple’s stringent requirements for reliability and eliminating screen creases, the release of its foldable product may be delayed until 2027.
The report notes that rumors about a foldable iPhone have been circulating for years, with the predicted release date being pushed back from 2023, so the final release date remains uncertain.

In addition to smartphones, the report also mentions that Apple may be developing a foldable iPad. This device is said to feature an approximately 8-inch display (similar in size to the iPad Mini). Since it doesn’t need to be pocketed like a phone, its requirements for durability and thickness may be relatively less stringent.
In conclusion, although the highly anticipated foldable iPhone has not yet been officially confirmed by Apple, ongoing patent activity and analyst reports strongly suggest that Apple is actively preparing its foldable product line, and consumers may see the results in the near future.
Editor’s Review:
Rumors about a foldable iPhone have remained largely speculative, reflecting Apple’s relentless pursuit of technological excellence. If it truly achieves a crease-free breakthrough, it could redefine the folding experience. However, all the suspense remains to be seen, awaiting Apple’s own confirmation.

Kazam is Focused on creating and reporting timely content in technology with a special focus on mobile phone technology. Kazam reports, analyzes, and reviews recent trends, news and rumors in mobile phone technology and provides the best possible insights to enhance your experience and knowledge.
